服务热线:
4006-598-119

上海海湾GST-TS-100A消防电话分机

简要描述:

  • 更新时间:2024-08-03 10:25:09
  • 访  问  量:13975
详细介绍

上海海湾GST-TS-100A消防电话分机图文展示GST-TS-100A消防电话分机GST-TS-100A消防电话分机产品及外包装实拍GST-TS-100A消防电话分机听筒细节展示GST-TS-100A消防电话分机底座展示GST-TS-100A消防电话分机液晶头接线口展示上海海湾GST-TS-100A消防电话分机适用场所介绍

上海海湾GST-TS-100A消防电话分机适用场所介绍
 

一、上海海湾GST-TS-100A消防电话分机概述
 
  GST-TS-100A总线制固定式消防电话分机是为消防专用而设计开发的总线制通讯设备,通过它可迅速实现对火灾的人工确认,并可及时掌握火灾现场情况及进行其它必要的通信联络,便于指挥灭火及恢复工作。
 
二、上海海湾GST-TS-100A消防电话分机特点
 
  GST-TS-100A型消防电话分机是消防专用总线制通讯设备,GST-TS-100A型消防电话分机为固定式安装,摘机即呼叫电话主机。
 
三、上海海湾GST-TS-100A消防电话分机技术特性
 
工作电压DC24V,允许范围:DC20V~DC28V
工作电流通话时电流约为25mA
线制无极性二总线制
使用环境

温度:-10℃~+50℃

相对湿度:≤95%,不凝露

外形尺寸206mm×56mm×51.5mm
执行标准Q/GST28-2005


四、上海海湾GST-TS-100A消防电话分机结构特征与安装
 
  GST-TS-100A 型消防电话分机、GST-TS-100B 型消防电话分机外形尺寸及结构示意图分别如图。

GST-TS-100A型消防电话分机外形结构图

GST-TS-100A型消防电话分机外形结构图

  GST-TS-100B 型消防电话分机外形尺寸及结构示意图

GST-TS-100B 型消防电话分机外形尺寸及结构示意图

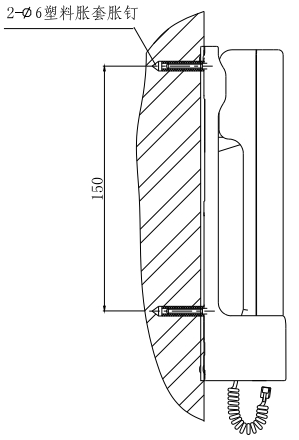
  GST-TS-100A 型消防电话分机安装示意图如图所示:

GST-TS-100A 型消防电话分机安装示意图

GST-TS-100A 型消防电话分机安装示意图

  在安装处打出间距为150mm的两个φ6的孔,穿入φ6的胀套,用φ6的胀钉固定好后,将GST-TS-100A消防电话分机底座直接挂在胀钉上。将电话线插头插入GST-LD-8304型消防电话接口的电话插孔内。

  GST-TS-100B型消防电话分机的电话线插头,直接接入GST-LD-8312型消防电话插孔的插孔内即可使用。

 



留言框

  • 产品:

  • 留言内容:

  • 您的单位:

  • 您的姓名:

  • 联系电话:

  • 常用邮箱:

  • 详细地址:

本文标签:
在线咨询 联系方式 二维码

服务热线

4006-598-119

扫一扫,关注我们